
★★★注意:请将需求胶球性能参数、型号大小 、订单数量等相关要求可发邮箱:3369838020@qq.com,我们将给您优惠的价格。联系人:晏经理(15861293778)QQ:3369838020。实体厂家生产,大量现货,大量批发来电价格更优惠!

胶球清洗凝汽器原理及装置部件设计要求
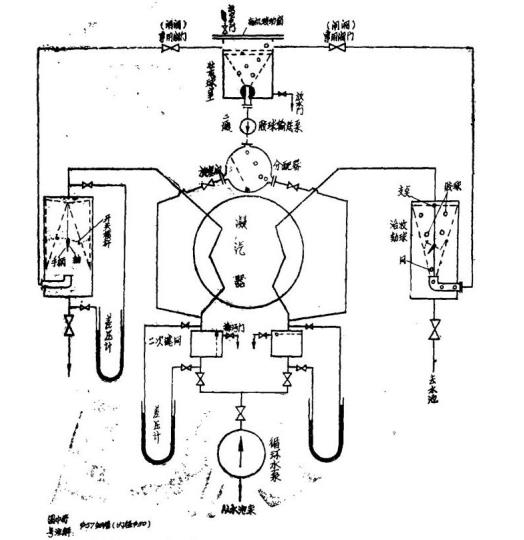
以下是凝汽器胶球清洗系统的工作原理及核心部件设计要求,依据行业技术规范整理:
一、凝汽器胶球清洗系统工作原理
物理擦洗机制
采用湿态直径比冷却管内径大1-2mm的海绵胶球,在循环水压差驱动下挤压通过管道,与管壁全周接触摩擦去除水垢、微生物等污物。
循环流程
胶球从凝汽器进水室注入→随水流进入冷却管擦洗→经出水室进入收球网捕获→胶球泵抽回装球室→循环复用。
自动化控制
系统按预设频率(如每日1-2次)自动投球,实现不停机、不减负荷在线清洗。
二、凝汽器胶球清洗系统核心部件设计要求
1.收球网
结构要求:栅格网板可旋转设计,收球时倾斜拦截胶球,非工作状态旋转至与水流平行减少阻力。
性能指标:收球率≥90%(优选≥98%),网板需承受循环水冲击无振动。
材质:不锈钢网芯,耐腐蚀并防止胶球卡塞。
2.胶球泵
用设计:宽流道单级离心泵,叶轮采用双叶片管状通道,避免切球或堵塞。
压力匹配:出口压力略高于循环水进口压力(压差≥0.02MPa),确保胶球输送流畅。
3.二次滤网
拦截精度:滤除>6mm杂物,保护胶球及冷却管。
排污能力:配置旋转反冲洗机构,自动清除截留杂质。
4.装球室
容积标准:有效容积≥系统胶球总体积的3倍,便于投球、观察及回收。
可视化设计:配备观察窗及放气阀,实时监控胶球状态。
5.胶球选型
类型 适用场景 性能要求
标准海绵球 普通污垢清洗 湿态密度≈1.0g/cm3,回弹率>60%
金刚砂球 顽固水垢/生物粘泥 表面嵌入磨料,磨损量≤0.1mm/次
剥皮球 软性污垢剥离 表面带沟槽结构,剥离效率≥80%
三、凝汽器胶球清洗系统集成关键参数
参数项 设计要求 依据
胶球数量 凝汽器单侧铜管数量的10%
循环水压差 ≥0.05MPa(驱动胶球运动)
清洗周期 每次持续30分钟,每日1-2次
系统承压 ≥1.0MPa(匹配管路压力)
注:系统需配置分汇器(三通阀)实现单侧凝汽器选择性清洗,并预留智能控制接口支持远程启停及故障诊断。
附:工作流程示意图
A[装球室投球]-->B[胶球泵加压输送]
B-->C{分汇器切换至目标凝汽器}
C-->D[胶球进入冷却管擦洗]
D-->E[收球网捕获胶球]
E-->F[胶球泵抽回装球室]
F-->A
通过上述设计,胶球清洗系统可在保障收球率>90%、零设备损伤的前提下,提升凝汽器真空度0.5-3kPa,降低煤耗1%-3%。